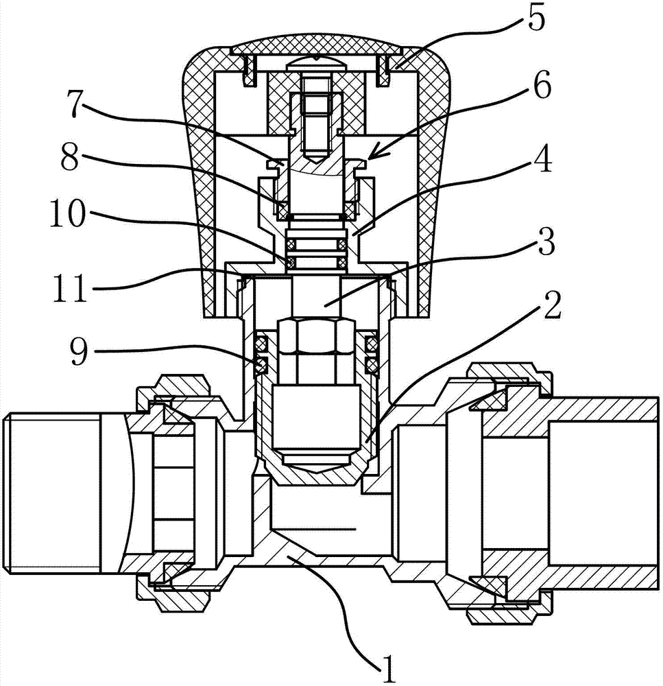
恒温阀工作原理,恒温阀工作原理及工作流程详解
功能特点 1无需机械手动调节水气量大小,只需轻轻按键即可使用 2采用电脑芯片控制技术,具有良好的线性关系,反应迅速,控制精确工作原理 1热水器工作原理如下图示 在通电通气通水的情况下,按下开关键,设置好出水温度;什么...
黄山在哪里个城市,黄山在哪里个城市哪个省
黄山是一座具有极高知名度和美誉度的名山,它不仅是世界文化与自然双重遗产,还是世界地质公园国家5A级旅游景区国家级风景名胜区以及全国文明风景旅游区示范点作为中华十大名山之一,黄山被誉为天下第一奇山,是安徽旅游的重要标志...
朝三暮四的故事,朝三暮四的故事告诉我们什么道理
朝三暮四这个故事的文本内容较前5次课长,为了帮助家长和孩子更好的理解文意,清风在学习群里和家长分享了以下的内容首先“;这就是朝三暮四的故事,小朋友们,请你告诉我,猴子们早上吃三颗橡子和晚上吃四颗,和早上吃四颗,晚上吃...
有没有韦礼安歌词大意,有没有韦礼安歌词大意的歌
有没有歌词节选,听见了谁的伤,在窗户旁,安静的想,是什么力量,你,有没有爱过我,有没有想过我,有没有,有没有,也会有一点心动的时候,但是说不出口,有没有后悔,还是只有我歌曲介绍,有没有是由韦礼安填词,作曲并演唱的一首...
东戴河房子能买吗,东戴河房子能买吗现在
东戴河佳兆业房子有值得购买的点,但也存在一定不足,需结合个人需求判断是否值得买优势方面综合评价较高房天下综合评分为42分,价格地段配套交通评分均为42分,环境评分为43分户型设计户型较为合理,刚需性价比高,得房率也还...
腹式呼吸法的方法,腹式呼吸法方法,哪一部是关注呼吸过程而不用手辅助的
腹式呼吸法的操作与作用操作时,将两手放在肚脐下,以便察觉腹内空气的变化姿势可以选择站立或坐立,然后慢慢地吸气,使腹部逐渐膨胀,感受空气充满腹部的过程接着在刹那间将气大口吐出,让腹部迅速收缩这种呼吸方式能够充分调动腹部...
两两相忘歌词,两两相忘歌词作者
两两相忘 演唱 辛晓琪 Hsin, Winnie 作词厉曼婷 作曲周世晖 拈朵微笑的花 想一番人世变换 到头来输赢又何妨 日与夜互消长 富与贵难久长 今早的容颜老于昨晚 眉间放一字宽 看一段人世风光 谁不是把悲喜在尝...
王莽怎么死的,王莽和刘秀是什么关系?
一王莽之死 时间背景公元23年,绿林军攻入长安,这是新朝历史上的一个重要转折点死亡过程在长安城内的混乱中,王莽被商人杜吴所杀这一事件标志着新朝的覆灭和王莽个人命运的终结二王莽的身份与背景 家族背景王莽是西汉外戚王氏家...
李渊的四个儿子介绍,李渊的四个儿子介绍图片
13 郑惠王李元懿620673年2月21日,唐高祖第十三子,母为张宝林14 霍王李元轨688年12月28日,唐高祖李渊第十四子,母为张美人15 虢庄王李凤,唐高祖第十五子,母为杨美人16 道孝王李元庆,唐高祖李渊的第...
电视剧小女花不弃有哪些演员,小女花不弃女演员
由于TVB的培训班体制,大多数演员都需要熬多年,新晋视后胡定欣就是其中多年熬成婆的代表。就像他们… ▲韦家雄:也许你看到他的剧照叫不出他的名字,可是你却一定知道他在TVB曾出演过很多作品,从1996年加入TVB后,韦...










京公网安备11000000000001号
京ICP备11000001号